博风一般类商标
俄罗斯商标注册流程知识
洽洽在食品申请 坚果先生 商标中遇阻
十多万买的装修材料一捏就断 佛山一班街坊从装修者还变成 代理商 ,公司负责人 他们想敲诈
入驻天猫商标要满多久才行
美容院产品加工-美容院专业线产品加工-美容院祛斑祛痘产品加工
重庆市渝津纸业有限责任公司
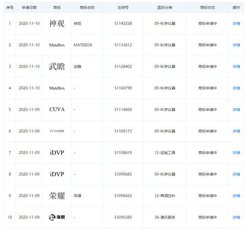
图 商标注册 广州公司注册 公司转让 变更 一般纳税人申请 广州工商注册
知识产权-什么是专利?专利申请有什么好处?怎么申请产品设计专利?6-知识产权尽在.
企业进行「商标全类别」保护到底有多重要?_科技_网
图 宁波商标 宁波专利 宁波哪里申请商标价格低 版权申请 宁波商标专利 宁波列表网
商标注册申请申报大全看过来
泰安大掌柜财税 商标注册时常见疑问 tm和r区别 个人和公司申请商标区别
商标注册如何做到少花冤枉钱,提高成功率呢?教您一招!
商标局解读:商标注册申请申报要求
华为申请 盘古 商标被驳回
商标同时申请怎么办
近似商标
为什么说商标查询可以提高商标注册成功率
如若转载,请注明出处:http://www.hzpb888.com/product/list-12.html